Валопровод
Валопровод — комплекс устройств, механизмов и соединений, служащих для передачи крутящего момента от двигателя к движителю и передачи упорного давления от последнего корпусу судна.

Элементами валопровода являются:
Гребной вал
Является концевым валом валопровода и предназначен для крепления гребного винта (устанавливается на его кормовой конец). Изготовляются из углеродистой или легированной стали. В районе подшипников кронштейна и дейдвуда на валы в горячем состоянии насаживаются бронзовые или латунные рубашки. Для защиты от коррозии применяются также резиновое и эпоксидное покрытие;
В многовинтовых судах, боковые гребные валы выходят за пределы корпуса через мортиры и поддерживаются кронштейнами.
Промежуточные валы

Валы, соединённые между собой двигателем и гребным валом с помощью фланцев и муфт;
Опорные подшипники
Служат опорами для промежуточных валов;
Упорный вал и подшипники
Служат для передачи упорного давления, создаваемого гребным винтом корпусу судна;
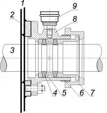
Дейдвудное устройство
Служит для опоры гребного вала (или промежуточного) и уплотнения места выхода последнего из корпуса судна. В местах прохода вала через водонепроницаемые переборки устанавливаются переборочные сальники.
Длина валопровода зависит от архитектуры судна и его размеров. При кормовом расположении МО может достигать 12–20 метров; при среднем — 50–70 метров. При больших длинах валопровод помещают в коридор (коридор гребного вала), защищающий его от повреждений и выполняемый герметичным.
Нагрузки, действующие на валопровод
Во время работы валопровода на него действуют такие нагрузки: основные — вращательный момент, передающийся от гребного винта; гидродинамические силы, которые возникают при работе винта; вес валов, гребного винта и других механизмов, закреплённых на валах. Вспомогательные — изгибающие моменты, появляющиеся в результате расцентровки валопровода; нагрузки, появившиеся из-за неуравновешенности гребного винта; усилия из-за работы винта в косом потоке и при качке. Случайные — усилия, возникающие при ударах лопастей гребного винта о твёрдые предметы.
Литература
- «Морской энциклопедический словарь», Ленинград, «Судостроение», 1991 год