Муфта упругая втулочно-пальцевая
Муфта упругая втулочно-пальцевая (МУВП) — упругая муфта, для компенсации динамических нагрузок. Состоит из двух полумуфт, неподвижно закреплённых в одной полумуфте пальцев, на которых размещены резиновые втулки, через которые пальцы взаимодействуют с другой полумуфтой.
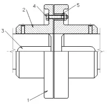
Конструкция муфты

Ведущая и ведомая полумуфты в виде круглых дисков (1), которые своими ступицами (2) установлены на концах валов с использованием шпоночного соединения (3). Оба диска соединены болтами (4). В одном из дисков между болтом и отверстием вложены резиновые втулки (5). Резиновые втулки могут сглаживать вибрации и колебания, которые возникают на приводном валу и в некоторой степени компенсировать динамические нагрузки во время запуска и торможения.
Характеристики муфты
Упругость муфты обеспечивается за счёт резиновых втулок, которые для большей податливости могут иметь гофры, и способны деформироваться при передаче муфтой крутящего момента Mр. МУВП допускает смещения валов:
- осевое Δ0 = (1…5)мм;
- радиальное Δr =(0,2…0,5)мм;
- угловое Δα = (0,5…1,0)°.
Однако, смещения Δr и Δα увеличивают износ упругих элементов и неравномерность распределения нагрузки между пальцами муфты. Кроме того, такие смещения дополнительно нагружают валы в радиальном направлении. Преимуществами МУВП является простота конструкции и заменяемых упругих элементов, малые габаритные размеры и масса.
МУВП стандартизованы (ГОСТ 21424-93[1]) для валов диаметром d = (10…160)мм и крутящих моментов Mр = (6,3-16000 Η•м).
Полумуфты изготовляют из серого чугуна СЧ 20, стали 30 или 35Л. Материал пальцев — сталь 45, а втулок — резина с пределом прочности на растяжение не менее чем 8 МПа.
Пример условного обозначения муфты упругой втулочно-пальцевой с номинальным крутящим моментом 250 Н•м диаметром посадочного отверстия d = 40 мм, исполнения 1 (цилиндрический конец вала), климатического исполнения У и категории размещения 3:
- Муфта упругая втулочно-пальцевая 250-40-1 У3 ГОСТ 21424-93
Расчёт муфт
Работоспособность МУВП определяется прочностью пальцев и резиновых втулок. Проверочный расчёт резиновых втулок выполняют по условиям ограничения давления на поверхности их контакта с пальцами, а самих пальцев — по условиям прочности на изгиб.
Нагрузку, приходящуюся на один палец, определяют по формуле
- Fп = 2Mр/(D•z),
где D — диаметр окружности, по которой расположены пальцы;
- z — количество пальцев в муфте (обычно принимают z = 4…8).
Условие прочности втулок муфты:
- p = Fп /(dп•lв) ≤ [p].
Условие прочности пальцев на изгиб:
- σ = M/W0 = 32Fп(0,5 lв + с)/(πdп3) ≤ [σ].
В этих уравнениях:
- dп — диаметр пальца;
- lв — длина втулки;
- с — осевой зазор между полумуфтами.
Допустимое давление для резины принимают [р] = (2,0…2,5) МПа, а допустимое напряжение изгиба для пальцев [σ] = (60…70) МПа. Если МУВП работает в условиях радиального смещения валов, то возникает добавочная радиальная нагрузка на валы. Усреднённое значение этой нагрузки можно определить по соотношению Fm = (0,5…0,6)Mр/D.
Работа МУВП сопровождается потерями энергии, которые можно оценить КПД =0,96…0,98.
См. также
Литература
- Поляков В. С., Барбаш И. Д., Ряховский О. А. Справочник по муфтам. Л., «Машиностроение» (Ленингр. отд-ние), 1974, 352 с.
- Анурьев В. И. Справочник конструктора-машиностроителя: В 3 т. / Под ред. И. Н. Жестковой. — 8-е изд., перераб. и доп.. — М.: Машиностроение, 2001. — Т. 2. — 912 с. — ISBN 5-217-02964-1 (5-217-02962-5), ББК 34.42я2, УДК 621.001.66 (035)
Примечания
- ГОСТ 21424-93 Муфты упругие втулочно-пальцевые. Параметры и размеры.